Высококачественный насос ZEN Вертикальный турбинный пожарный насос XBD с длинным валом состоит из нескольких центробежных рабочих колес, направляющих кожухов, водопроводных труб, трансмиссионных валов, двигателей основания насоса и других компонентов. Основание насоса и двигатель расположены над бассейном, а мощность двигателя передается на вал рабочего колеса через трансмиссионный вал, концентричный водопроводной трубе, создавая тем самым поток и давление.
Yuqori sifatli Zen nasos XBD Uzunlik vertikal turbinali olovli pompa uchta qismdan iborat: ish qismi, suv qismi va sirt qismi.
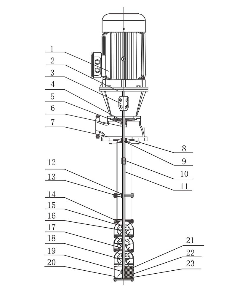
1. Ishchi qism
Эта часть состоит из рабочих частей и частей водяного фильтра. Рабочие части состоят из направляющего кожуха, рабочего колеса, конической втулки, подшипника скольжения, вала рабочего колеса и других деталей. Рабочее колесо представляет собой замкнутую конструкцию. Кожухи соединены болтами. На направляющий кожух и рабочее колесо могут быть установлены компенсационные кольца.
2. Santexnika qismi
Эта часть состоит из водопроводных труб, приводных валов, муфт и кронштейнов. Водопроводная труба соединена фланцем, а вал трансмиссии изготовлен из стали 2Cr13 или нержавеющей стали.
3. Поверхностная часть
Состоит из компонентов основания насоса, двигателя, кронштейна двигателя, муфты и других компонентов.
Model XBD Uzunlik vertikal turbinali yong'in pomosi asosan sanoat va kon muhandisligi, yuqori darajadagi bino va drenajlash va boshqa yong'inlarni tashish va boshqa yong'inni o'chirish va boshqa yong'inni o'chirish uchun ishlatiladi.
1. Qoida, toza, tajovuzkor bo'lmagan suv.
2. Suvdagi qattiq moddalar tarkibi (og'irlik bo'yicha) 0,01% dan oshmaydi.
3. Значение pH в диапазоне 6,5–8,5.
4. Содержание сероводорода не более 1,5 мг/л.
5. Температура воды не должна превышать 40°C.
Oqim: 5-110 (l / s)
НАПОР: 32–200 (м)
Quvvat: 3-200 (kVt)
Spming RPM: 3000 RPM.
Turbine yong'in pompasi uchta qismdan iborat: ish qismi, suv qismi va sirt qismi.
1. Ishchi qism
Bu qism ishlaydigan qismlardan va suv filtr qismlaridan iborat. Ish joylari qo'llanma qopqog'ini, piteler, puchli bankir, oddiy rulman, perveller mil va boshqa qismlardan iborat. Speleler - bu yopiq tuzilma. Kassalar murvat bilan bog'liq. Yo'l-yo'riqli kompensatsiya uzuklari qo'llanma uyi va pervelerga o'rnatilishi mumkin.
2. Santexnika qismi
Bu qism suv quvurlari, qasrlar, shtatlar va qavs qismlaridan iborat.
Suv ta'minoti qismi shilimshiq bilan bog'liq va uzatmali va zanglamaydigan po'latdan yasalgan.
3. Поверхностная часть
Bu qism nasos bazasi, motor, motorli qavs, ulanish va boshqa qismlarning tarkibiy qismlaridan iborat.
1. Qoida, toza, tajovuzkor bo'lmagan suv.
2. Содержание твердых веществ в воде (по массе) – не более 0,01%.
3. Значение pH – в пределах 6,5–8,5.
4. Содержание сероводорода – не более 1,5 мг/л.
5. Suv harorati 40 ° C dan oshmasligi kerak.
|
№ |
Element | Material |
| 1 | двигателя | Yig'ish |
| 2 | Опора двигателя | QT400-18 |
| 3 | o'rash | ZG235-150 |
| 4 | Крышка уплотнения | Qt100-18 |
| 5 | Торцевое уплотнение | Uglerod-Sic-NBR |
| 6 | Держатель уплотнения | ZG235-450 |
| 7 | Chiqish quvuri | QT400-18 |
| 8 | Chiqish quvuri | QT400-18 |
| 9 | Опорный вал | COTTO NIRON |
| 10 | o'rash | ZG235-150 |
| 11 | Вал | 20CR13 |
| 12 | Qo'llab-quvvatlash | COTTO NIRON |
| 13 | Кронштейн | Qt100-18 |
| 14 | Верхняя чаша | Qt100-18 |
| 15 | Piyola | Kauchuk |
| 16 | Stakan | 20CR13 |
| 17 |
Рабочее колесо |
06CR19N110 |
| 18 | O'rta idishga | QT400-18 |
| 19 | Подшипник | Kauchuk |
| 20 | Всасывающий колокол | Qt100-18 |
| 21 | Filtrlamoq | O6cr19ni10 |
| 22 | Упорный диск | 20CR13 |
| 23 | Передняя упорная пластина | Teflon aralashmasi |
| Raqam | Tur | Nominal oqim (L / s) |
Harakat (m) |
Kuch (kw) |
Tezlik (R / min) |
Kalibr (mm) |
Maksimal ish bosimi (≤pa) |
Nominal oqim bosimining 150% (≥pa) |
| 1 | XBD4.0/1WJ-SEAD | 1 | 40 | 3 | 3000 | 50 | 0.560 | 0.260 |
| 2 | XBD5.0 / 1wJ-Sead | 1 | 50 | 4 | 3000 | 50 | 0.700 | 0.325 |
| 3 | XBD6.0/1WJ-SEAD | 1 | 60 | 4 | 3000 | 50 | 0.840 | 0.390 |
| 4 | XBD7.0/1WJ-SEAD | 1 | 70 | 5.5 | 3000 | 50 | 0.980 | 0.455 |
| 5 | XBD8.0/1WJ-SEAD | 1 | 80 | 7.5 | 3000 | 50 | 1.120 | 0.520 |
| 6 | XBD9.0 / 1wJ qurilmasi | 1 | 90 | 7.5 | 3000 | 50 | 1.260 | 0.585 |
| 7 | XBD10.0 / 1wJ qurilmasi | 1 | 100 | 11 | 3000 | 50 | 1.400 | 0.650 |
| 8 | XBD11.0 / 1wJ qurilmasi | 1 | 110 | 11 | 3000 | 50 | 1.540 | 0.715 |
| 9 | XBD12.0 / 1wJ-Sead | 1 | 120 | 11 | 3000 | 50 | 1.680 | 0.780 |
| 10 | XBD13.0 / 1wJ-Sead | 1 | 130 | 11 | 3000 | 50 | 1.820 | 0.815 |
| 11 | XBD14.0 / 1wJ qurilmasi | 1 | 140 | 15 | 3000 | 50 | 1.960 | 0.910 |
| 12 | XBD15.0/1WJ-SEAD | 1 | 150 | 15 | 3000 | 50 | 2.100 | 0.975 |
| 13 | XBD16.0/1WJ-SEAD | 1 | 160 | 15 | 3000 | 50 | 2.240 | 1.040 |
| 14 | XBD16.8.0/1WJ-SEAD | 1 | 168 | 3 | 3000 | 50 | 2.352 | 1.092 |
| 15 | XBD4.0 / 3wJ qurilmasi | 3 | 40 | 4 | 3000 | 50 | 0.560 | 0.260 |
| 16 | XBD5.0/3WJ-SEAD | 3 | 50 | 5.5 | 3000 | 50 | 0.700 | 0.325 |
| 17 | XBD6.0 / 3wJ qurilmasi | 3 | 60 | 7.5 | 3000 | 50 | 0.840 | 0.390 |
| 18 | XBD7.0/3WJ-SEAD | 3 | 70 | 7.5 | 3000 | 50 | 0.980 | 0.455 |
| 19 | XBD8.0/3WJ-SEAD | 3 | 80 | 7.5 | 3000 | 50 | 1.120 | 0.520 |
| 20 | XBD9.0 / 3wJ-Sead | 3 | 90 | 7.5 | 3000 | 50 | 1.260 | 0.585 |
| 21 | XBD10.0/3WJ-SEAD | 3 | 100 | 11 | 3000 | 50 | 1.400 | 0.650 |
| 22 | XBD11.0/3WJ-SEAD | 3 | 110 | 11 | 3000 | 50 | 1.540 | 0.715 |
| 23 | XBD12.0/3WJ-SEAD | 3 | 120 | 11 | 3000 | 50 | 1.680 | 0.780 |
| 24 | XBD13.0 / 3wJ-Sead | 3 | 130 | 11 | 3000 | 50 | 1.820 | 0.815 |
| 25 | XBD14.0 / 3wJ qurilmasi | 3 | 140 | 15 | 3000 | 50 | 1.960 | 0.90 |
| 26 | XBD15.0/3WJ-SEAD | 3 | 150 | 15 | 3000 | 50 | 2.100 | 0.975 |
| 27 | XBD16.0 / 3wJ-Sead | 3 | 160 | 15 | 3000 | 50 | 2.240 | 1.040 |
| 28 | XBD16.8 / 3wJ-Sead | 3 | 168 | 15 | 3000 | 50 | 2.352 | 1.092 |
| 29 | XBD4.0/5WJ-SEAD | 5 | 40 | 4 | 3000 | 50 | 0.560 | 0.260 |
| 30 | XBD5.0/5WJ-SEAD | 5 | 50 | 5.5 | 3000 | 50 | 0.700 | 0.325 |
| 31 | XBD6.0 / 5wJ-Sead | 5 | 60 | 7.5 | 3000 | 50 | 0.840 | 0.390 |
| 32 | XBD7.0 / 5wJ-Sead | 5 | 70 | 7.5 | 3000 | 50 | 0.980 | 0.455 |
| 33 | XBD8.0 / 5wJ qurilmasi | 5 | 80 | 11 | 3000 | 50 | 1.120 | 0.520 |
| 34 | XBD9.0/5WJ-SEAD | 5 | 90 | 11 | 3000 | 50 | 1.260 | 0.585 |
| 35 | XBD10.0/5WJ-SEAD | 5 | 100 | 11 | 3000 | 50 | 1.400 | 0.650 |
| 36 | XBD11.0/5WJ-SEAD | 5 | 110 | 15 | 3000 | 50 | 1.540 | 0.780 |
| 37 | XBD12.0 / 5wJ-Sead | 5 | 120 | 15 | 3000 | 50 | 1.680 | 0.845 |
| Raqam | Tur | Nominal oqim (L / s) |
Harakat (m) |
Kuch (kw) |
Tezlik (R / min) |
Kalibr (mm) |
Maksimal ish bosimi (≤pa) |
Nominal oqim bosimining 150% (≥pa) |
| 38 | XBD13.0/5WJ-SEAD | 5 | 130 | 15 | 3000 | 50 | 1.820 | 0.845 |
| 39 | XBD14.0/5WJ-SEAD | 5 | 140 | 15 | 3000 | 50 | 1.960 | 0.910 |
| 40 | XBD15.0/5WJ-SEAD | 5 | 150 | 18.5 | 3000 | 50 | 2.100 | 0.975 |
| 41 | XBD16.0/5WJ-SEAD | 5 | 160 | 18.5 | 3000 | 50 | 2.240 | 1.040 |
| 42 | XBD16.8 / 5wJ-Sead | 5 | 168 | 30 | 3000 | 50 | 2.352 | 1.092 |
| 43 | XBD3.3 / 5GJ-SEAD | 5 | 33 | 3 | 3000 | 50 | 0.462 | 0.215 |
| 44 | XBD4.0/5GJ-SEAD | 5 | 40 | 4 | 3000 | 50 | 0.560 | 0.260 |
| 45 | XBD6.0/5GJ-SEAD | 5 | 60 | 5.5 | 3000 | 50 | 0.840 | 0.390 |
| 46 | XBD8.0/5GJ-SEAD | 5 | 80 | 7.5 | 3000 | 50 | 1.120 | 0.520 |
| 47 | XBD10.0 / 5GJ qurilmasi | 5 | 100 | 11 | 3000 | 50 | 1.400 | 0.650 |
| 48 | XBD12.0 / 5GJ qurilmasi | 5 | 120 | 15 | 3000 | 50 | 1.680 | 0.780 |
| 49 | XBD14.0/5GJ-SEAD | 5 | 140 | 15 | 3000 | 50 | 1.960 | 0.910 |
| 50 | XBD16.3/5GJ-SEAD | 5 | 163 | 18.5 | 3000 | 50 | 2.282 | 1.060 |
| 51 | XBD3.2/10GJ-SEAD | 10 | 32 | 5.5 | 3000 | 80 | 0.448 | 0.208 |
| 52 | XBD4.2 / 10GJ-SEAD | 10 | 42 | 7.5 | 3000 | 80 | 0.588 | 0.273 |
| 53 | XBD5.0 / 10GJ-SEAD | 10 | 50 | 11 | 3000 | 80 | 0.700 | 0.325 |
| 54 | XBD6.0 / 10GJ-SEAD | 10 | 60 | 15 | 3000 | 80 | 0.840 | 0.390 |
| 55 | XBD8.4/10GJ-SEAD | 10 | 84 | 15 | 3000 | 80 | 1.176 | 0.546 |
| 56 | XBD9.6/10GJ-SEAD | 10 | 96 | 18.5 | 3000 | 80 | 1.344 | 0.624 |
| 57 | XBD10.0/10GJ-SEAD | 10 | 100 | 18.5 | 3000 | 80 | 1.400 | 0.650 |
| 58 | XBD11.0 / 10GJ-SEAD | 10 | 110 | 18.5 | 3000 | 80 | 1.540 | 0.715 |
| 59 | XBD12.0 / 10GJ-SEAD | 10 | 120 | 22 | 3000 | 80 | 1.680 | 0.780 |
| 60 | XBD13.0 / 10GJ-SEAD | 10 | 130 | 22 | 3000 | 80 | 1.820 | 0.845 |
| 61 | XBD14.4 / 10gj-Sead | 10 | 144 | 30 | 3000 | 80 | 2.016 | 0.936 |
| 62 | Xbd15.6 / 10gj | 10 | 156 | 30 | 3000 | 80 | 2.184 | 1.014 |
| 63 | XBD17.0/10GJ-SEAD | 10 | 170 | 37 | 3000 | 80 | 2.380 | 1.105 |
| 64 | XBD18.0/10GJ-SEAD | 10 | 180 | 37 | 3000 | 80 | 2.520 | 1.170 |
| 65 | XBD3.6/15GJ-SEAD | 15 | 36 | 11 | 3000 | 80 | 0.501 | 0.231 |
| 66 | XBD4.0 / 15GJ qurilmasi | 15 | 40 | 11 | 3000 | 80 | 0.560 | 0.260 |
| 67 | XBD5.0/15GJ-SEAD | 15 | 50 | 15 | 3000 | 80 | 0.700 | 0.325 |
| 68 | XBD6.0 / 15GJ-SEAD | 15 | 60 | 15 | 3000 | 80 | 0.840 | 0.390 |
| 69 | XBD7.2 / 15gj-Sead | 15 | 72 | 18.5 | 3000 | 80 | 1.008 | 0.325 |
| 70 | XBD8.4 / 15gj moslamasi | 15 | 84 | 22 | 3000 | 80 | 1.176 | 0.468 |
| 71 | XBD9.6 / 15gj | 15 | 96 | 22 | 3000 | 80 | 1.344 | 0.546 |
| 72 | XBD10.0/15GJ-SEAD | 15 | 100 | 22 | 3000 | 80 | 1.400 | 0.624 |
| 73 | XBD11.0/15GJ-SEAD | 15 | 110 | 30 | 3000 | 80 | 1540 | 0.650 |
| 74 | XBD12.0 / 15gj-Sead | 15 | 120 | 30 | 3000 | 80 | 1680 | 0.715 |
| Raqam | Tur | Nominal oqim (L / s) |
Harakat (m) |
Kuch (kw) |
Tezlik (R / min) |
Kalibr (mm) |
Maksimal ish bosimi (≤pa) |
Nominal oqim bosimining 150% (≥pa) |
| 75 | XBD13.0 / 15gj-Sead | 15 | 130 | 37 | 3000 | 80 | 1.820 | 0.845 |
| 76 | XBD14.0 / 15GJ qurilmasi | 15 | 140 | 37 | 3000 | 80 | 1.960 | 0.910 |
| 77 | XBD15.6 / 15gj-ion | 15 | 156 | 37 | 3000 | 80 | 2.184 | 1.014 |
| 78 | XBD17.0 / 15GJ-SEAD | 15 | 170 | 45 | 3000 | 80 | 2.380 | 1.105 |
| 79 | XBD18.2./15GJ-SEAD | 15 | 182 | 45 | 3000 | 80 | 2.518 | 1.183 |
| 80 | XBD20.0/15GJ-SEAD | 15 | 200 | 55 | 3000 | 80 | 2.800 | 1.300 |
| 81 | XBD3.3 / 20GJ-SEAD | 20 | 33 | 11 | 3000 | 100 | 0.462 | 0.215 |
| 82 | XBD4.0/20GJ-SEAD | 20 | 40 | 15 | 3000 | 100 | 0.580 | 0.260 |
| 83 | XBD4.4/20GJ-SEAD | 20 | 44 | 15 | 3000 | 100 | 0.616 | 0.286 |
| 84 | XBD5.0/20GJ-SEAD | 20 | 50 | 18.5 | 3000 | 100 | 0.700 | 0.325 |
| 85 | XBD5.5 / 20GJ qurilmasi | 20 | 55 | 18.5 | 3000 | 100 | 0.770 | 0.358 |
| 86 | XBD6.0 / 20GJ qurilmasi | 20 | 50 | 22 | 3000 | 100 | 0.700 | 0.325 |
| 87 | XBD6.6 / 20GJ qurilmasi | 20 | 66 | 22 | 3000 | 100 | 0.924 | 0.429 |
| 88 | XBD7.0/20GJ-SEAD | 20 | 70 | 30 | 3000 | 100 | 0.980 | 0.455 |
| 89 | XBD8.0/20GJ-SEAD | 20 | 80 | 30 | 3000 | 100 | 1.120 | 0.520 |
| 90 | XBD9.0/20GJ-SEAD | 20 | 90 | 30 | 3000 | 100 | 1.260 | 0.585 |
| 91 | XBD10.0/20GJ-SEAD | 20 | 100 | 37 | 3000 | 100 | 1.400 | 0.650 |
| 92 | XBD11.0/20GJ-SEAD | 20 | 110 | 37 | 3000 | 100 | 1.540 | 0.75 |
| 93 | XBD12.1 / 20gj moslamasi | 20 | 121 | 45 | 3000 | 100 | 1.694 | 0.787 |
| 94 | XBD14.0/20GJ-SEAD | 20 | 140 | 45 | 3000 | 100 | 1.960 | 0.910 |
| 95 | XBD16.0/20GJ-SEAD | 20 | 160 | 55 | 3000 | 100 | 2.240 | 1.040 |
| 96 | XBD18.0 / 20gj moslamasi | 20 | 180 | 55 | 3000 | 100 | 2.520 | 1.170 |
| 97 | XBD20.0 / 20GJ qurilmasi | 20 | 200 | 75 | 3000 | 100 | 2.800 | 1.300 |
| 98 | XBD3.2/25GJ-SEAD | 25 | 32 | 11 | 3000 | 100 | 0.448 | 0.208 |
| 99 | XBD4.2/25GJ-SEAD | 25 | 42 | 15 | 3000 | 100 | 0.588 | 0.273 |
| 100 | XBD5.3 / 25GJ-SEAD | 25 | 53 | 18.5 | 3000 | 100 | 0.742 | 0.345 |
| 101 | XBD6.3/25GJ-SEAD | 25 | 63 | 22 | 3000 | 100 | 0.882 | 0.410 |
| 102 | XBD7.3/25GJ-SEAD | 25 | 73 | 30 | 3000 | 100 | 1.022 | 0.475 |
| 103 | XBD8.4 / 25gj-Sead | 25 | 84 | 37 | 3000 | 100 | 1.176 | 0.546 |
| 104 | XBD9.0 / 25GJ-SEAD | 25 | 90 | 37 | 3000 | 100 | 1.260 | 0.585 |
| 105 | XBD10.0 / 25GJ SEAD | 25 | 100 | 37 | 3000 | 100 | 1.400 | 0.950 |
| 106 | XBD11.0 / 25GJ SEAD | 25 | 110 | 45 | 3000 | 100 | 1.540 | 0.715 |
| 107 | XBD12.0/25GJ-SEAD | 25 | 120 | 45 | 3000 | 100 | 1.680 | 0.780 |
| 108 | XBD14.0/25GJ-SEAD | 25 | 140 | 55 | 3000 | 100 | 1.960 | 0.910 |
| 109 | XBD16.0 / 25GJ SEAD | 25 | 160 | 75 | 3000 | 100 | 2.240 | 1.040 |
| 110 | XBD18.5/25GJ-SEAD | 25 | 185 | 75 | 3000 | 100 | 2.590 | 1.203 |
| 111 | XBD3.6/30GJ-SEAD | 30 | 36 | 15 | 3000 | 100 | 0.504 | 0.234 |
| Raqam | Tur | Nominal oqim (L / s) |
Harakat (m) |
Kuch (kw) |
Tezlik (R / min) |
Kalibr (mm) |
Maksimal ish bosimi (≤pa) |
Nominal oqim bosimining 150% (≥pa) |
| 112 | XBD4.2/30GJ-SEAD | 30 | 40 | 18.5 | 3000 | 100 | 0.560 | 0.260 |
| 113 | XBD5.0/30GJ-SEAD | 30 | 50 | 22 | 3000 | 100 | 0.700 | 0.325 |
| 114 | XBD6.0 / 30GJ qurilmasi | 30 | 60 | 30 | 3000 | 100 | 0.840 | 0.390 |
| 115 | XBD7.2 / 30GJ-Chaad | 30 | 72 | 30 | 3000 | 100 | 1.008 | 0.468 |
| 116 | XBD8.0/30GJ-SEAD | 30 | 80 | 37 | 3000 | 100 | 1.120 | 0.520 |
| 117 | XBD9.0 / 30GJ qurilmasi | 30 | 90 | 45 | 3000 | 100 | 1.260 | 0.585 |
| 118 | XBD10.0/30GJ-SEAD | 30 | 100 | 45 | 3000 | 100 | 1.400 | 0.650 |
| 119 | XBD11.0/30GJ-SEAD | 30 | 110 | 45 | 3000 | 100 | 1.540 | 0.715 |
| 120 | XBD13.0 / 30GJ-Chaad | 30 | 130 | 55 | 3000 | 100 | 1.820 | 0.845 |
| 121 | XBD14.5/30GJ-SEAD | 30 | 145 | 75 | 3000 | 100 | 2.030 | 0.943 |
| 122 | XBD16.2/30GJ-SEAD | 30 | 162 | 75 | 3000 | 100 | 2.268 | 1.053 |
| 123 | XBD18.0 / 30GJ qurilmasi | 30 | 180 | 90 | 3000 | 100 | 2.520 | 1.170 |
| 124 | XBD20.0/30GJ-SEAD | 30 | 200 | 90 | 3000 | 100 | 2.800 | 1.300 |
| 125 | XBD3.2/35GJ-SEAD | 35 | 32 | 18.5 | 3000 | 100 | 0.448 | 0.208 |
| 126 | XBD4.0 / 35GJ qurilmasi | 35 | 40 | 22 | 3000 | 100 | 0.560 | 0.260 |
| 127 | XBD5.0 / 35GJ-SEAD | 35 | 50 | 30 | 3000 | 100 | 0.700 | 0.325 |
| 128 | XBD6.0/35GJ-SEAD | 35 | 60 | 30 | 3000 | 100 | 0.840 | 0.390 |
| 129 | XBD6.5 / 35GJ-SEAD | 35 | 65 | 37 | 3000 | 100 | 0.910 | 0.423 |
| 130 | XBD7.0 / 35GJ-SEAD | 35 | 70 | 37 | 3000 | 100 | 0.980 | 0.455 |
| 131 | XBD8.0/35GJ-SEAD | 35 | 80 | 45 | 3000 | 100 | 1.120 | 0.520 |
| 132 | XBD9.0 / 35GJ qurilmasi | 35 | 90 | 55 | 3000 | 100 | 1.260 | 0.585 |
| 133 | XBD10.0 / 35GJ qurilmasi | 35 | 100 | 55 | 3000 | 100 | 1.400 | 0.650 |
| 134 | XBD11.2 / 35GJ qurilmasi | 35 | 112 | 75 | 3000 | 100 | 1.568 | 0.728 |
| 135 | XBD13.0/35GJ-SEAD | 35 | 130 | 75 | 3000 | 100 | 1.820 | 0.845 |
| 136 | XBD15.0 / 35GJ-SEAD | 35 | 150 | 90 | 3000 | 100 | 2.100 | 0.975 |
| 137 | XBD16.0/35GJ-SEAD | 35 | 160 | 90 | 3000 | 100 | 2.240 | 1.040 |
| 138 | XBD18.0 / 35GJ-SEAD | 35 | 180 | 110 | 3000 | 100 | 2.520 | 1.170 |
| 139 | XBD19.2/35GJ-SEAD | 35 | 192 | 110 | 3000 | 100 | 2.688 | 1.248 |
| 140 | XBD20.0/35GJ-SEAD | 35 | 200 | 132 | 3000 | 100 | 2.800 | 1.300 |
| 141 | XBD3.2/40GJ-SEAD | 40 | 32 | 22 | 3000 | 150 | 0.448 | 0.208 |
| 142 | XBD4.0/40GJ-SEAD | 40 | 40 | 30 | 3000 | 150 | 0.560 | 0.260 |
| 143 | XBD4.8/40GJ-SEAD | 40 | 48 | 30 | 3000 | 150 | 0.672 | 0.312 |
| 144 | XBD5.0/40GJ-SEAD | 40 | 50 | 37 | 3000 | 150 | 0.700 | 0.325 |
| 145 | XBD6.0 / 40GJ qurilmasi | 40 | 60 | 45 | 3000 | 150 | 0.840 | 0.390 |
| 146 | XBD7.0 / 40GJ-Chaad | 40 | 70 | 45 | 3000 | 150 | 0.980 | 0.455 |
| 147 | XBD8.0 / 40GJ qurilmasi | 40 | 80 | 55 | 3000 | 150 | 1.120 | 0.520 |
| 148 | XBD9.0 / 40GJ qurilmasi | 40 | 90 | 55 | 3000 | 150 | 1.260 | 0.585 |
| Raqam | Tur | Nominal oqim (L / s) |
Harakat (m) |
Kuch (kw) |
Tezlik (R / min) |
Kalibr (mm) |
Maksimal ish bosimi (≤pa) |
Nominal oqim bosimining 150% (≥pa) |
| 149 | XBD10.0/40GJ-SEAD | 40 | 100 | 55 | 3000 | 150 | 1.400 | 0.650 |
| 150 | XBD11.0/40GJ-SEAD | 40 | 110 | 75 | 3000 | 150 | 1.540 | 0.715 |
| 151 | XBD12.0 / 40GJ qurilmasi | 40 | 120 | 75 | 3000 | 150 | 1680 | 0.780 |
| 152 | XBD14.0 / 40GJ qurilmasi | 40 | 140 | 90 | 3000 | 150 | 1960 | 0.910 |
| 153 | XBD15.0 / 40GJ-SEAD | 40 | 150 | 90 | 3000 | 150 | 2100 | 0.975 |
| 154 | XBD16.5/40GJ-SEAD | 40 | 165 | 110 | 3000 | 150 | 2310 | 1.073 |
| 155 | XBD18.5 / 40GJ qurilmasi | 40 | 180 | 110 | 3000 | 150 | 2520 | 1.170 |
| 156 | XBD20.0/40GJ-SEAD | 40 | 200 | 132 | 3000 | 150 | 2800 | 1.300 |
| 157 | XBD3.0/45GJ-SEAD | 45 | 30 | 22 | 3000 | 150 | 0.420 | 0.195 |
| 158 | XBD4.0 / 45GJ qurilmasi | 45 | 40 | 30 | 3000 | 150 | 0.560 | 0.260 |
| 159 | XBD5.0 / 45GJ qurilmasi | 45 | 50 | 37 | 3000 | 150 | 0.700 | 0.325 |
| 160 | XBD6.0 / 45GJ qurilmasi | 45 | 60 | 45 | 3000 | 150 | 0.810 | 0.390 |
| 161 | XBD7.0/45GJ-SEAD | 45 | 70 | 55 | 3000 | 150 | 0.980 | 0.455 |
| 162 | XBD8.0 / 45GJ qurilmasi | 45 | 80 | 55 | 3000 | 150 | 1.120 | 0.520 |
| 163 | XBD9.0 / 45GJ qurilmasi | 45 | 90 | 75 | 3000 | 150 | 1.260 | 0.585 |
| 164 | XBD10.0/45GJ-SEAD | 45 | 100 | 75 | 3000 | 150 | 1.400 | 0.650 |
| 165 | XBD3.2 / 50GJ-SEAD | 50 | 32 | 22 | 3000 | 150 | 0.448 | 0.208 |
| 166 | XBD4.0 / 50GJ-SEAD | 50 | 40 | 30 | 3000 | 150 | 0.560 | 0.260 |
| 167 | XBD4.5/50GJ-SEAD | 50 | 45 | 37 | 3000 | 150 | 0.630 | 0.293 |
| 168 | XBD5.0/50GJ-SEAD | 50 | 50 | 37 | 3000 | 150 | 0.700 | 0.325 |
| 169 | XBD6.0 / 50GJ-SEAD | 50 | 60 | 45 | 3000 | 150 | 0.840 | 0.390 |
| 170 | XBD7.0/50GJ-SEAD | 50 | 70 | 55 | 3000 | 150 | 0.980 | 0.455 |
| 171 | XBD8.0 / 50GJ-SEAD | 50 | 80 | 55 | 3000 | 150 | 1.120 | 0.520 |
| 172 | XBD9.0 / 50GJ-SEAD | 50 | 90 | 75 | 3000 | 150 | 1.260 | 0.585 |
| 173 | XBD10.5 / 50GJ qurilmasi | 50 | 105 | 75 | 3000 | 150 | 1.470 | 0.683 |
| 174 | XBD12.0 / 50GJ-SEAD | 50 | 120 | 90 | 3000 | 150 | 1.680 | 0.780 |
| 175 | XBD14.0 / 50GJ qurilmasi | 50 | 140 | 110 | 3000 | 150 | 1.960 | 0.910 |
| 176 | XBD15.0/50GJ-SEAD | 50 | 150 | 132 | 3000 | 150 | 2.100 | 0.975 |
| 177 | XBD17.0 / 50GJ-SEAD | 50 | 170 | 160 | 3000 | 150 | 2.380 | 1.105 |
| 178 | XBD18.0 / 50GJ-SEAD | 50 | 180 | 160 | 3000 | 150 | 2.520 | 1.170 |
| 179 | XBD20.0 / 50GJ qurilmasi | 50 | 200 | 200 | 3000 | 150 | 2.800 | 1.300 |
| 180 | XBD4.0 / 55GJ qurilmasi | 55 | 40 | 37 | 3000 | 150 | 0.560 | 0.260 |
| 181 | XBD5.0/55GJ-SEAD | 55 | 50 | 45 | 3000 | 150 | 0.700 | 0.325 |
| 182 | XBD6.0/55GJ-SEAD | 55 | 60 | 55 | 3000 | 150 | 0.840 | 0.390 |
| 183 | XBD7.0 / 55GJ-Chaad | 55 | 70 | 55 | 3000 | 150 | 0.980 | 0.455 |
| 184 | XBD8.0 / 55GJ qurilmasi | 55 | 80 | 75 | 3000 | 150 | 1.120 | 0.520 |
| 185 | XBD10.0 / 55GJ qurilmasi | 55 | 100 | 90 | 3000 | 150 | 1.400 | 0.650 |
| Raqam | Tur | Nominal oqim (L / s) |
Harakat (m) |
Kuch (kw) |
Tezlik (R / min) |
Kalibr (mm) |
Maksimal ish bosimi (≤pa) |
Nominal oqim bosimining 150% (≥pa) |
| 186 | XBD4.0/60GJ-SEAD | 60 | 40 | 37 | 3000 | 150 | 0.560 | 0.260 |
| 187 | XBD5.0/60GJ-SEAD | 60 | 50 | 45 | 3000 | 150 | 0.700 | 0.325 |
| 188 | XBD6.0 / 60GJ qurilmasi | 60 | 60 | 55 | 3000 | 150 | 0.840 | 0.390 |
| 189 | XBD7.0/60GJ-SEAD | 60 | 70 | 75 | 3000 | 150 | 0.980 | 0.455 |
| 190 | XBD8.0/60GJ-SEAD | 60 | 80 | 75 | 3000 | 150 | 1.120 | 0.520 |
| 191 | XBD9.0/60GJ-SEAD | 60 | 90 | 90 | 3000 | 150 | 1.260 | 0.585 |
| 192 | XBD10.0 / 60GJ qurilmasi | 60 | 100 | 90 | 3000 | 150 | 1.400 | 0.650 |
| 193 | XBD12.0/60GJ-SEAD | 60 | 120 | 110 | 3000 | 150 | 1.680 | 0.780 |
| 194 | XBD14.0 / 60GJ qurilmasi | 60 | 140 | 131 | 3000 | 150 | 1.960 | 0.910 |
| 195 | XBD16.0/60GJ-SEAD | 60 | 160 | 160 | 3000 | 150 | 2.240 | 1.040 |
| 196 | XBD18.0 / 60GJ qurilmasi | 60 | 180 | 160 | 3000 | 150 | 2.520 | 1.170 |
| 197 | XBD20.0/60GJ-SEAD | 60 | 200 | 200 | 3000 | 150 | 2.800 | 1.300 |
| 198 | XBD3.0/70GJ-SEAD | 70 | 30 | 37 | 3000 | 150 | 0.420 | 0.195 |
| 199 | XBD4.0/70GJ-SEAD | 70 | 40 | 45 | 3000 | 150 | 0.560 | 0.260 |
| 200 | XBD5.0/70GJ-SEAD | 70 | 50 | 55 | 3000 | 150 | 0.700 | 0.325 |
| 201 | XBD6.0 / 70GJ qurilmasi | 70 | 60 | 75 | 3000 | 150 | 0.840 | 0.390 |
| 202 | XBD7.2 / 70GJ-SEAD | 70 | 72 | 90 | 3000 | 150 | 1.008 | 0.468 |
| 203 | XBD8.2/70GJ-SEAD | 70 | 82 | 110 | 3000 | 150 | 1.148 | 0.533 |
| 204 | XBD9.0/70GJ-SEAD | 70 | 90 | 110 | 3000 | 150 | 1.260 | 0.585 |
| 205 | XBD10.0/70GJ-SEAD | 70 | 100 | 132 | 3000 | 150 | 1.400 | 0.650 |
| 206 | XBD13.0/70GJ-SEAD | 70 | 130 | 160 | 3000 | 150 | 1.820 | 0.845 |
| 207 | XBD15.0/70GJ-SEAD | 70 | 150 | 200 | 3000 | 150 | 2.100 | 0.975 |
| 208 | XBD3.0/80GJ-SEAD | 80 | 30 | 37 | 3000 | 150 | 0.420 | 0.195 |
| 209 | XBD4.0/80GJ-SEAD | 80 | 40 | 45 | 3000 | 150 | 0.560 | 0.260 |
| 210 | XBD5.0 / 80GJ qurilmasi | 80 | 50 | 55 | 3000 | 150 | 0.700 | 0.325 |
| 211 | XBD6.0 / 80GJ qurilmasi | 80 | 60 | 75 | 3000 | 150 | 0.840 | 0.390 |
| 212 | XBD7.2/80GJ-SEAD | 80 | 72 | 90 | 3000 | 150 | 1.008 | 0.468 |
| 213 | XBD8.2/80GJ-SEAD | 80 | 82 | 110 | 3000 | 150 | 1.148 | 0.533 |
| 214 | XBD9.0 / 80GJ qurilmasi | 80 | 90 | 110 | 3000 | 150 | 1.260 | 0.585 |
| 215 | XBD10.0 / 80GJ qurilmasi | 80 | 100 | 132 | 3000 | 150 | 1.400 | 0.650 |
| 216 | XBD13.0 / 80GJ qurilmasi | 80 | 130 | 160 | 3000 | 150 | 1.820 | 0.845 |
| 217 | XBD15.0 / 80GJ qurilmasi | 80 | 150 | 200 | 3000 | 150 | 2.100 | 0.975 |
| 218 | XBD3.0/90GJ-SEAD | 90 | 30 | 55 | 3000 | 200 | 0.420 | 0.195 |
| 219 | XBD4.0/90GJ-SEAD | 90 | 40 | 75 | 3000 | 200 | 0.560 | 0.260 |
| 220 | XBD5.0 / 90GJ-SEAD | 90 | 50 | 75 | 3000 | 200 | 0.700 | 0.325 |
| 221 | XBD6.0/90GJ-SEAD | 90 | 60 | 90 | 3000 | 200 | 0.840 | 0.390 |
| 222 | XBD7.0/90GJ-SEAD | 90 | 70 | 110 | 3000 | 200 | 0.980 | 0.455 |
| Raqam | Tur | Nominal oqim (L / s) |
Harakat (m) |
Kuch (kw) |
Tezlik (R / min) |
Kalibr (mm) |
Maksimal ish bosimi (≤pa) |
Nominal oqim bosimining 150% (≥pa) |
| 223 | XBD8.0/90GJ-SEAD | 90 | 80 | 110 | 3000 | 200 | 1.120 | 0.520 |
| 224 | XBD9.0 / 90GJ qurilmasi | 90 | 90 | 132 | 3000 | 200 | 1.260 | 0.585 |
| 225 | XBD10.2/90GJ-SEAD | 90 | 102 | 160 | 3000 | 200 | 1.428 | 0.663 |
| 226 | XBD12.0 / 90GJ qurilmasi | 90 | 120 | 200 | 3000 | 200 | 1.680 | 0.780 |
| 227 | XBD3.0/100GJ-SEAD | 100 | 30 | 55 | 3000 | 200 | 0.420 | 0.195 |
| 228 | XBD4.0 / 100GJ qurilmasi | 100 | 40 | 75 | 3000 | 200 | 0.560 | 0.280 |
| 229 | XBD5.0 / 100GJ-SEAD | 100 | 50 | 75 | 3000 | 200 | 0.700 | 0.325 |
| 230 | XBD6.0 / 100GJ qurilmasi | 100 | 60 | 90 | 3000 | 200 | 0.840 | 0.390 |
| 231 | XBD7.0 / 100GJ-SEAD | 100 | 70 | 110 | 3000 | 200 | 0.980 | 0.455 |
| 232 | XBD8.0 / 100GJ qurilmasi | 100 | 80 | 132 | 3000 | 200 | 1.120 | 0.520 |
| 233 | XBD9.0/100GJ-SEAD | 100 | 90 | 160 | 3000 | 200 | 1.260 | 0.585 |
| 234 | XBD9.8 / 100GJ qurilmasi | 100 | 98 | 200 | 3000 | 200 | 1.372 | 0.637 |
| 235 | XBD3.0 / 110GJ-SEAD | 100 | 30 | 55 | 3000 | 200 | 0.420 | 0.195 |
| 236 | XBD4.0/110GJ-SEAD | 110 | 40 | 75 | 3000 | 200 | 0.560 | 0.260 |
| 237 | XBD5.0/110GJ-SEAD | 110 | 50 | 90 | 3000 | 200 | 0.700 | 0.325 |
| 238 | XBD6.0/110GJ-SEAD | 110 | 60 | 110 | 3000 | 200 | 0.840 | 0.390 |
| 239 | XBD7.0 / 110GJ-SEAD | 110 | 70 | 132 | 3000 | 200 | 0.980 | 0.455 |
| 240 | XBD8.0 / 110GJ-SEAD | 110 | 80 | 160 | 3000 | 200 | 1.120 | 0.520 |
| 241 | XBD9.0/110GJ-SEAD | 110 | 90 | 160 | 3000 | 200 | 1.260 | 0.585 |
| 242 | XBD10.0/110GJ-SEAD | 110 | 100 | 200 | 3000 | 200 | 1.400 | 0.650 |
| № | O'rnatish hajmi | УГОЛ | ПОДВАЛ | ||||||||||||||
| H | A | E | L1 | L2 | B | C | 4-FD1 | D | D1 | DN | n-Φd | Tamg'a | B1 | B2 | T | 4-d2 | |
| 1-5L/S | Suv chuqur | 110 | Ph220 | 225 | 175 | 275 | 350 | 4-ph22 | 165 | 125 | 50 | 4-Φ18 | 600 | 275 | φ280 | 300 | 4-ph50 |
| 10-15l / s | Suv chuqur | 125 | Φ260 | 260 | 200 | 280 | 400 | 4-ph22 | 200 | 160 | 80 | 4-Φ18 | 600 | 280 | Ph280 | 300 | 4-ph50 |
| 20-15l / s | Suv chuqur | 125 | f260 | 260 | 200 | 280 | 400 | 4-ph22 | 220 | 180 | 100 | 8-ph18 | 600 | 280 | Ph280 | 300 | 4-ph50 |
| 40-80ll / s | Suv chuqur | 180 | F305 | 310 | 223 | 310 | 450 | 4-ph22 | 285 | 240 | 150 | 8-ph22 | 700 | 310 | Φ310 | 300 | 4-ph50 |
| 90-110L/S | Suv chuqur | 250 | Φ305 | 380 | 255 | 360 | 510 | 4-ph22 | 340 | 295 | 200 | 12-Φ22 | 800 | 360 | Ph330 | 300 | 4-ph50 |